© 2026 LEHIGHVALLEYNEWS.COM
Your Local News | Allentown, Bethlehem & Easton
Play Live Radio
Next Up:
0:00
0:00
Available On Air Stations
State & Regional News

'Lego-meets-Crayola-type' product gives Lehigh Valley native hopes for broader tactile literacy

Hands with TI'TAINS.jpg
Courtesy
/
Howard Romans
TI'TAINS could help those with hand dexterity and manipulation troubles, inventor Howard Romans says.

PENNSBURG, Pa. — Howard Romans and his family had exhausted their "Star Wars" and "Harry Potter" Lego sets.

But they wanted to create more, Romans said, and asked each other, “What else can we do? What else can we build?”

What started as one family’s fun of building Lego structures and watching videos of professional card stackers now has turned into a potential “social and societal good,” and even new product possibilities that go beyond just playing with toys, he said.

Romans, an Easton-area native currently living in Pennsburg, Montgomery County, this month submitted his own invented product known as TI’TAINS — a patent-pending card-stacking, building and construction toy system — along with a complementary braille and tactile literacy program for a potential grant opportunity.

“It’s kind of this idea that not only can you build and construct with it but [also] this idea of treating the playing cards as a bit of a blank canvas, where you can — kids or even adults — you can draw, you can color, you can paint, you can stamp,” Romans said.

“What else can we do? What else can we build?”
Howard Romans and his family asked to each other after exhausting their Star Wars and Harry Potter Lego sets.

Romans said he has high hopes for his submission for the Louis Braille Touch of Genius Prize for Innovation from the National Braille Press out of Boston.

If Romans wins the $10,000 prize, he said the funds would be used to further develop and broaden the current system and its literacy additions — a holistic project he said he thinks will punch above its weight once polished.

Here's a look at the product's various use cases from Romans' YouTube page.

The process leading up to his current invention and future outlook has been a few years in the making, Romans said, and nothing similar he’s seen from other inventors in the meantime has quite scratched that itch for him.

Having a “soft spot” for his targeted industry, Romans said he’s worn glasses since third grade and has gone through a number of sight operations over the years to improve his vision.

He even holds a nursing degree from East Stroudsburg University.

Romans is currently active duty with the Pennsylvania Army National Guard.

TITAINS.jpg
Courtesy
/
Howard Romans
TI'TAINS, right, compared to other industry competitors in size.

A broader look at braille literacy, an expert opinion

NBP states on its website that braille literacy “directly correlates” with performance in school and even employment rates.

Nearly three-quarters of those of working-age living with blindness are unemployed and seek support through disability income, it says.

The rest of those people who are employed are mostly tactile learners and read braille.

“Braille is an extremely important tool for blind people to become literate, and it is a critical component that supports education advancement and increases employment prospects,” according to NBP.

“The TI’TAINS give lots of opportunity for practice in spatial concepts; this content is particularly challenging for tactile learners. … The blank playing cards are a terrific idea."
Dr. Laurie Hudson, 2012 Braille Institute Teacher of the Year

The literacy rate for those of school-age living with blindness has declined nearly 40% over the past four decades, NBP says.

It attributes the number to less available time to hone those skills needed — specifically in the case of the public school system.

And troubles with braille literacy are said to span beyond the borders of the United States.

Romans has gathered some preliminary opinions on his TI’TAINS, sending samples to art therapists, occupational therapists and teachers of students with visual impairments.

Dr. Laurie Hudson, 2012 Braille Institute Teacher of the Year, shared some comments on the product and its viability in various inclusion settings.

“The TI’TAINS give lots of opportunity for practice in spatial concepts; this content is particularly challenging for tactile learners,” Hudson wrote in a review sent to Romans.

“The blank playing cards are a terrific idea. While traditional braille paper or even purchased index cards are more firm than standard stock and the dots are more maintained with frequent writing, the blank playing cards are even more firm and durable.

"On the other hand, it takes more hand strength to form the braille on them, and sometimes the dots break through them.”

Spatial concepts describe the relationship between a person and objects — think “in, on, under, next to, behind, between,” etc. — and even objects to each other.

“It’s really kind of this multifaceted device that is a toy — but it’s also more of a therapeutic tool, device or aid."
TI'TAINS inventor Howard Romans

Romans said the product makes for a “very accessible” option, featuring a space for braille, a multi-sensory experience and possible benefits for those with hand dexterity troubles.

The inventor also is experimenting with scratch-and-sniff stickers.

“It’s really kind of this multifaceted device that is a toy — but it’s also more of a therapeutic tool, device or aid,” Romans said.

In a product review on Etsy, Emily Faith, who identified herself as a reading teacher, wrote, “I ordered these to use for sight words for my students.

"They have been working great and my students enjoy putting the cards in them! It feels like a more hands-on activity now.”

Another TI'TAINS wall.jpg
Courtesy
/
Howard Romans
One possibility with the TI'TAIN connectors and cards already on hand.

What's led to now

Looking back following the winter of 2020, Romans said he went through a four- to six-month design and development process alongside Idea Reality, a consultancy firm out of the United Kingdom.

After some time of going over different iterations and prototyping steps, Romans eventually saw his TI’TAINS come to life.

Romas said the name is an “amalgamation” of Greek mythology, his personal story and the capabilities of the product as a whole.

He said he has gotten some feedback suggesting a name change, and he said it could possibly happen.

The red apostrophe is a nod to K'nex, the construction toy system and company formerly headquarter in Hatfield, Montgomery County, not too far from Romans and his family.

TI'TAINS.jpg
Courtesy
/
Idea Reality
TI'TAINS come in packs of 10, 20 and 30, as well as in four different colors: beige, black, gray and red.

The base product

The product’s Etsy page defines TI’TAINS as a “game card holder, connector and trading card display stand” that can also cover a broad range of play patterns and reinforce replayability, immersion, accessibility and sustainability.

Each individual cube has one “male” pegged connector and one “female” connector that can go together to make a 20mm-cubed object or be used as individual halves.

“This was determined during the product design and development process to be a good size to give the card holder/connector some weight while also remaining small enough that large quantities would not take up too much space,” the system’s product notes read on Etsy.

The description says they can be used to hold business cards, trading and collector’s cards, greeting cards, special occasion placeholder cards and even tabletop board game cards — but more on that last part later.

Packs of 10, 20 and 30 connectors — in colors black, beige, gray and red — now are sold at $12.95, $19.95 and $29.95, respectively.

Romans said people are welcome to use cards they already have to complement their TI’TAINS. And while the Etsy listings don’t include blank playing cards, he said he can provide them as supplies permit.

Manufacturing, sustainability

Romans said he and his wife, Julie, have teamed up with a fellow investor to keep overseas manufacturing moving as needed.

TI’TAINS connector pieces can run upwards of 40 cents a pop to produce, he said.

“Over the past two to three years, our production costs have gradually increased, as well … I think it would surprise people how much just an individual connector would cost,” Romans said.

The inventor wants to keep sustainability in mind, he said, as TI’TAINS are made using a flexible TPU, or thermoplastic polyurethane. The material is considered to be recyclable and biodegradable.

“Over the past two to three years, our production costs have gradually increased as well … I think it would surprise people how much just an individual connector would cost.”
TI'TAINS inventor Howard Romans

Lego constructs its classic bricks using ABS, acrylonitrile butadiene styrene, a material considered to be recyclable but not biodegradable. The company uses a number of other materials to make its various products.

On top of sustainability, Romans feels TI’TAINS and its incoming literacy system beats out Lego on some fronts. The Lego Group released Braille bricks this past September.

“Treating the cards as a proverbial ‘blank canvas’ offers a plethora of opportunity to really heighten multisensory learning, for all ages,” Romans said. “It does propose an entirely different way of really building and constructing.”

TI'TAINS Wall.jpg
Courtesy
/
Howard Romans
Another possibility with TI'TAINS and blank cards.

About those tabletop games ...

Dungeons & Dragons, a popular tabletop role-playing game, has been going strong since 1974. And its most recent live-action film, “Dungeons & Dragons: Honor Among Thieves,” hit theaters this past March.

Romans said this gave him a timely “epiphany” to emphasize the potential for TI’TAINS use for various textures to symbolize terrain, character card placements and movement as well as supporting card structures to amplify the gaming experience.

“I review board games and need to take a lot of pictures of cards,” Joseph Pugh wrote in an Etsy product review. “I’ve found TI’TAINS to be perfect for the job.

“I can have them hold up objective cards for me in ‘Nemesis.’ Or just add importance to certain cards so I remember to pay attention to them.”

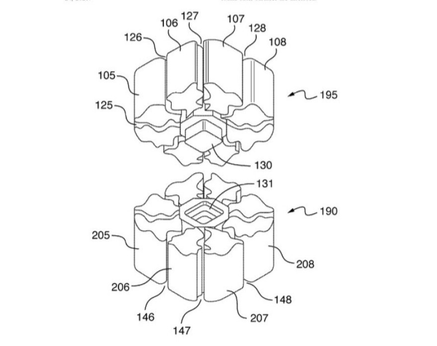
TI'TAINS Patent.jpg
Courtesy
/
Howard Romans
One drawing from the TI'TAINS patent application.

What the new year brings

The TI’TAINS patent has been pending since August 2021. Receiving the award of a patent would mean Romans could potentially license the idea or product to a larger toy manufacturer.

Though TI’TAINS are currently only available on Etsy and the braille literacy system is in the works, the team looks to expand its sales to Amazon at some point.

On the topic of broadening their reach, Romans and crew said they're consulting with a former brand and marketing manager that worked with Mattel, a multi-billion-dollar company of the likes of Hasbro and Lego.

And in the new year, Romans said he will meet with KidKraft, a toy manufacturer headquartered in Dallas, Texas, as well as with a buyer from Target, who Romans said has some “preliminary interest” in potentially launching TI'TAINS in stores.